marketing@snmash.ru
Задать вопрос
8-800-3021-565
заказать обратный звонок
+7 (8412) 45-06-86
+7 (499) 399-36-86
+7 (843) 245-16-86
время работы:
8.00 - 17.00
Улан-Удэ
/
Медленные фильтры

Медленные фильтры

Медленные фильтры: где применяются?

Высокую эффективность очистки воды от вредных примесей и бактерий показывают медленные фильтры, функции которых базируются на технологии пленочной фильтрации. Сначала создается пленка, состоящая из первично отсеянных взвесей и полезных бактерий, задержанных песчаной загрузкой. Сквозь нее свободно проходит вода, но не проникают находящиеся в ее толще мельчайшие фракции.

На пленке, через которую очищаемая жидкость процеживается, задерживаются бактерии и оставшиеся взвешенные частицы — всего до 98% примесей. В результате из фильтрующего элемента вытекает обеззараженная вода с высоким качеством осветления.

Первый медленный фильтр и история его происхождения

Самые ранние устройства были созданы в Британии в 1829 году. Разработкой занимался британский инженер по фамилии Симпсон по заданию ведомств, курирующих трубопроводы и водопроводную систему Лондона. В результате была создана конструкция медленного фильтра для очистки воды, получившего распространение в мире и называющегося английскими. Более простая схема фильтрации при помощи песчаного слоя применялась ранее в Шотландии, но по конструкции эти приспособления напоминали медленные фильтры. Схему предложил инженер-конструктор Роберт Том.

В Европе устройства сконструировали позже: в 1853 году в Германии, в 1880-х — в Польше. На Руси такой способ очистки применили в Москве в самом начале XX века, когда схему фильтрации внедрили на Рублёвском гидроузле.

Конструкция

Фильтрующий элемент представляет собой послойно насыпанные зерна горных пород, между которыми оседают взвеси. Загрузка создается из песка малой зернистости, задерживающего мелкодисперсные фракции и микроорганизмы при пропускании сквозь нее воды. Степень очистки и обеззараживания достигает 98% — это высокое качество обработки.

Внешне медленный фильтр — это длинный, до 60 м, резервуар диаметром до 6 м, заполненный кварцевым песком, уложенным поверх гравия. По рабочей схеме медленный фильтр заполняется водой на высоту от 120 до 150 см над уровнем песчаного слоя. Скорость фильтрации в среднем составляет 10–20 см в час и задается регулирующим устройством, помещенным в камере, откуда выводится очищенная вода. За счет поддержки неизменного объема выходящей жидкости соблюдается скорость ее прохождения сквозь фильтровальный элемент.

Свежезасыпанный песок сначала не столь эффективно обеззараживает воду, как в очистной установке, проработавшей некоторое время и именуемой «зрелым». Созревание определяют наличием в поверхностном слое биологической пленки, состоящей из микроскопических водорослей, бактерий, глинистых фракций, оседающих между песчинками. Среди полезных микроорганизмов, скапливающихся в пленке, на особом счету находятся диатомовые водоросли отряда Bacillariales, превращающие биологическую пленку в подобие войлочного материала.

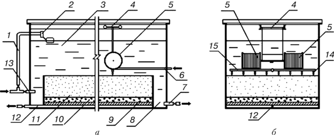
Схема медленного фильтра

  1. Патрубок для выхода раствора для промывки.
  2. Нижний карман.
  3. Фильтр из песка.
  4. Каретка разрыхляющего элемента, перемещающаяся по монорельсовой конструкции.
  5. Труба, по которой заливают жидкость для очистки.
  6. Приводной механизм рыхлителя.
  7. Патрубок для выхода в трубопровод обеззараженной жидкости.
  8. Труба для подачи к рыхлителю раствора для промывки.
  9. Верхний карман.
  10. Дренажная плита из пористого бетона.
  11. Уровень воды при осуществлении операции промывки.
  12. Уровень заполнения фильтра водой, которую нужно обеззаразить.
  13. Трубопровод, откуда поступает вода для промывки.

Фильтрующая загрузка в медленных фильтрах

Слои загрузки
(нумерация сверху вниз)

Фильтрующий материал

Размер зерен

1

Песок

300–1000 мкм

2

—″—

1000–2000 мкм

3

—″—

2000–5000 мкм

4

Гравий или щебень

0,5–1 см

5

—″—

1–2 см

6

—″—

2–4 см

Высота 1-го песчаного слоя — 50 см, остальных слоев — по 5 см, и их суммарная толщина составляет 75 см.

Поверх дренажа, находящегося на дне резервуара, кладут гравий, засыпая слоями с уменьшающейся крупностью зерен, затем помещают послойно кварцевый песок, так же соблюдая уменьшение его зернистости. В качестве дренажного материала выступает пористый бетон, плиты которого размещают на бетонных опорах. Альтернативой выступают дрены, созданные из обожженного кирпича.

Регенерация

Со временем пространство между зернами загрузки заполняется отсеянными взвесями, а толщина пленки из бактерий и водорослей наращивается. В результате качество очистки возрастает, а скорость прохождения жидкости снижается. Чтобы обеспечить неизменную скорость фильтрации, постепенно увеличивают давление жидкости в трубопроводе. Бесконечно наращивать напор жидкости невозможно, чтобы не разрушить пленку и не снизить степень очистки.

Чтобы уменьшить плотность скопившихся взвесей и восстановить скорость работы, проводят регенерацию загрузки, для чего выполняют одно из двух мероприятий:

  • поверхностный слой песка толщиной от 1,5 до 2 сантиметров удаляют, заменяя новым или прошедшим промывку;
  • разрыхляют поверхностный слой, применяя механический или гидравлический метод, и промывают водой.

Выводы

Первыми в истории очистными устройствами в системе водоснабжения были медленные фильтры. Эти устройства обладают неоспоримыми достоинствами: степень осветления и качество обеззараживания очень высока. Более дешевый способ удаления бактерий из жидкости — хлорирование. Из минусов, снижающих интерес к использованию медленных фильтров, отмечают следующие:

  • крупные габариты и выделение большой площади под установку;
  • высокая себестоимость строительно-монтажных работ;
  • сложность очистки.

Сейчас такие очистные устройства используют нечасто, из области применения фильтров остаются системы водоснабжения сельхозпредприятий, где их интегрируют в трубопроводы.


Узнать стоимость медленных фильтров
Запрос цены
Подписка на рассылку
Запрос цены
Заказать звонок
ООО НПО Спецнефтемаш
Производство резервуарного оборудования, емкостных аппаратов и трубопроводной арматуры

RU,
ул.Стрельбищенская, д. 60,
Пенза,
440023
Телефоны: +7 (800) 3021-565 +7 (8412) 45-06-86 +7 (8412) 45-06-83 +7 (499) 399-36-86 +7 (843) 245-16-86 +7 (3412) 77-11-86 +7 (3919) 27-08-86 +7 (3462) 982-086 +7 (3496) 450-686 +7 (4112) 258-886 +7 (3843) 602-886 +7 (391) 214-58-86 +7 (383) 375-48-86 +7 (3812) 378-586 +7 (342) 204-50-86 +7 (351) 377-11-86 +7 (3453) 528-086 +7 (861) 290-58-86 +7 (8512) 62-06-86 +7 (8442) 50-00-86 +7 (3532) 90-56-86 +7 (812) 931-73-44‬

https://snmash.ru/images/logo.svg

https://snmash.ru/images/logo.svg
от 3000 рублей до 2500000 рублей